Property
Account |
| Property ID: | 32583 | Abbreviated Legal Description: | 14-6-35 LOT D3 OF S/P (PTN TAX 4)(PT GOV LOT 2) |
| Parcel Number: | 350614210039 | Agent Code: | |
| Type: | Real | | |
| Tax Area: | 311 - 250-4 | Land Use Code | 11 |
| Open Space: | N | DFL | N |
| Historic Property: | N | Remodel Property: | N |
| Multi-Family Redevelopment: | N | | |
| Township: | 6 | Section: | 14 |
| Range: | 35 |
Location |
| Address: | 638 COUNTY RD #448 WA 99324 | Mapsco: | |
| Neighborhood: | MOBILE HOME RURAL | Map ID: | |
| Neighborhood CD: | 215063 |
Owner |
| Name: | DRONE GARY C | Owner ID: | 56182 |
| Mailing Address: | 638 COUNTY RD #448 WALLA WALLA, WA 99362 | % Ownership: | 100.0000000000% |
| | | Exemptions: | SNR/DSBL |
Taxes and Assessment Details
Values
| (+) Improvement Homesite Value: | + | $197,730 | |
| (+) Improvement Non-Homesite Value: | + | $0 | |
| (+) Land Homesite Value: | + | $169,230 | |
| (+) Land Non-Homesite Value: | + | $0 | |
| (+) Curr Use (HS): | + | $0 | $0 |
| (+) Curr Use (NHS): | + | $0 | $0 |
| | | -------------------------- | |
| (=) Market Value: | = | $366,960 | |
| (–) Productivity Loss: | – | $0 | |
| | | -------------------------- | |
| (=) Subtotal: | = | $366,960 | |
| (+) Senior Appraised Value: | + | $134,000 | |
| (+) Non-Senior Appraised Value: | + | $0 | |
| | | -------------------------- | |
| (=) Total Appraised Value: | = | $134,000 | |
| (–) Senior Exemption Loss: | – | $50,000 | |
| (–) Exemption Loss: | – | $0 | |
| | | -------------------------- | |
| (=) Taxable Value: | = | $84,000 | |
Taxing Jurisdiction
| Owner: | DRONE GARY C | | |
| % Ownership: | 100.0000000000% | | |
| Total Value: | $366,960 | | |
| Tax Area: | 311 - 250-4 |
| CERFD | CURRENT EXPENSE REFUND 010 | 0.0000000000 | $366,960 | $84,000 | $0.00 | | |
| CURREXP | CURRENT EXPENSE 010 | 1.0175366760 | $366,960 | $84,000 | $85.47 | | |
| HUMNSERV | HUMAN SERVICES 119 | 0.0250000000 | $366,960 | $84,000 | $2.10 | | |
| SLDREL | SOLDIERS RELIEF 121 | 0.0155990005 | $366,960 | $84,000 | $1.31 | | |
| EMERGSER | EMS 147 | 0.3792580840 | $366,960 | $84,000 | $31.86 | | |
| EMSRFD | EMS REFUND 147 | 0.0000000000 | $366,960 | $84,000 | $0.00 | | |
| FD4EXP | FD #4 EXPENSE 686 | 0.8836993059 | $366,960 | $84,000 | $74.23 | | |
| RLBRFD | RURAL LIBRARY REFUND 623 | 0.0000000000 | $366,960 | $84,000 | $0.00 | | |
| RURALLIB | RURAL LIBRARY 623 | 0.3710609029 | $366,960 | $84,000 | $31.17 | | |
| PORTRFD | PORT REFUND 640 | 0.0000000000 | $366,960 | $84,000 | $0.00 | | |
| PORTWWGEN | PORT OF WW 640 | 0.2460186015 | $366,960 | $84,000 | $20.67 | | |
| SD250BOND | SD #250 BOND 773 | 0.0000000000 | $366,960 | $0 | $0.00 | | |
| SD250GEN | SD #250 GENERAL 770 | 0.0000000000 | $366,960 | $0 | $0.00 | | |
| ST2 | STATE SCHOOL PART 2 600 | 0.0000000000 | $366,960 | $0 | $0.00 | | |
| STATESCHL | STATE SCHOOL 600 | 1.5158548041 | $366,960 | $84,000 | $127.33 | | |
| STREFUND | STATE REFUND LEVY 603 | 0.0000000000 | $366,960 | $84,000 | $0.00 | | |
| COROAD | COUNTY ROAD 115 | 1.6549953990 | $366,960 | $84,000 | $139.02 | | |
| CRPRD | COUNTY ROAD REFUND 115 | 0.0000000000 | $366,960 | $84,000 | $0.00 | | |
| | Total Tax Rate: | 6.1090227739 | | | | | |
| | | | | Taxes w/Current Exemptions: | $513.16 | | |
| | | | | Taxes w/o Exemptions: | $3,950.80 | | |
Improvement / Building
| Improvement #1: | MANUFACTURED HOME | State Code: | 11 | 1960.0 sqft | Value: | $197,730 |
| Exterior Wall: | PLYWOOD | Heating/Cooling: | HEAT PUMP | | Number of Bathrooms: | 2 | Number of Bedrooms: | 3 | | Plumbing: | 8 | Roof Covering: | COMP SHINGLE |
|
| | Type | Description | Class CD | Sub Class CD | Year Built | Area |
| | MOBHOME | MANUFACTURD HOMES | 1 | 30 | 1990 | 1960.0 |
| | MI1 | MH SET-UP COSTS | 1 | 30 | 1990 | 1.0 |
| | OSP | Open | 1 | 30 | 1990 | 140.0 |
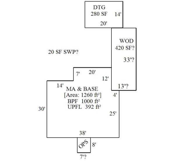
Sketch
Property Image
Land
| 1 | RES 1 | Converted: Residential | 3.3800 | 0.00 | 0.00 | 0.00 | 1.00 | $169,230 | $0 |
Roll Value History
| 2025 | N/A | N/A | N/A | N/A | N/A |
| 2024 | $197,730 | $169,230 | $0 | $366,960 | $84,000 |
| 2023 | $197,730 | $169,230 | $0 | $366,960 | $84,000 |
| 2022 | $197,730 | $169,230 | $0 | $366,960 | $84,000 |
| 2021 | $123,580 | $169,230 | $0 | $292,810 | $84,000 |
| 2020 | $161,300 | $86,900 | $0 | $248,200 | $84,000 |
| 2019 | $161,300 | $86,900 | $0 | $248,200 | $53,600 |
| 2018 | $115,210 | $86,900 | $0 | $202,110 | $53,600 |
| 2017 | $109,730 | $86,900 | $0 | $196,630 | $53,600 |
| 2016 | $99,750 | $86,900 | $0 | $186,650 | $53,600 |
| 2015 | $95,000 | $86,900 | $0 | $181,900 | $53,600 |
| 2014 | $95,000 | $86,900 | $0 | $181,900 | $53,600 |
| 2013 | $95,000 | $86,900 | $0 | $181,900 | $53,600 |
| 2012 | $95,000 | $86,900 | $0 | $0 | $0 |
| 2011 | $95,000 | $86,900 | $0 | $0 | $0 |
| 2010 | $95,000 | $86,900 | $0 | $0 | $0 |
| 2009 | $130,400 | $54,500 | $0 | $0 | $0 |
| 2008 | $79,500 | $54,500 | $0 | $0 | $0 |
| 2007 | $79,500 | $54,500 | $0 | $0 | $0 |
| 2006 | $79,500 | $54,500 | $0 | $0 | $0 |
Deed and Sales History
| 1 | 05/25/2022 | MH AFFIDAV | MOBILE HOME AFFIDAVIT | BLEDSOE JOHN M & BARBARA A | DRONE GARY C | | | | 144026 | MHAFF-144026 |
| 2 | 05/05/2015 | MH AFFIDAV | MOBILE HOME AFFIDAVIT | DRONE GARY C & MARGOT L | DRONE GARY C | | | | 127904 | MHAFF-127904 |
| 3 | 12/23/2014 | MH AFFIDAV | MOBILE HOME AFFIDAVIT | DRONE GARY C & MARGOT L | DRONE GARY C & MARGOT L | | | | 127166 | MHAFF127166 |
Payout Agreement
| No payout information available.. |